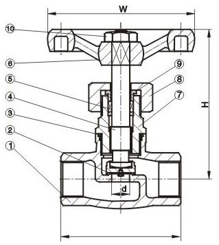
J11W不銹鋼絲扣截止閥的啟閉件是塞形的閥瓣,密封上面呈平面或錐面,閥瓣沿閥座的中心線作直線運動;J11W不銹鋼絲扣截止閥閥桿開啟或關閉行程相對較短,并具有非??煽康那袛鄤幼?,使得它適合作為介質的切斷或調節及節流使用。
①結構簡單,制造和維修比較方便;
|
-
配件采用不銹鋼304材質不易生銹
-
工作行程小,啟閉時間短
-
結構簡單,制造和維修比較方便
-
密封性好,密封面間磨擦力小,使用較長。
-
體積小、輕便、性能可靠、配套簡單、流通能力大等優點。
-
根據用戶提供的流量、壓力提供選型規格書及控制方案圖。


